跳转到主要内容

通用汽车申请远程车辆控制专利

日期: 栏目:行业资讯 浏览:

本站讯 据外媒报道,通用汽车公司(GM)已提交一项遥控车辆系统的专利申请。该专利申请的专利号为US 2025/0377659 A1,于2024年6月7日提交至美国专利商标局(USPTO)。该专利申请于2025年12月11日公布,并列出了多位美国工程师作为发明人,包括Jacob A. Bond、Bo Yu、Josh Remmetter、Jeremy A. Salinger和Umer Khalid。

通用汽车申请远程车辆控制专利

图片来源: USPTO

通用汽车的这项专利申请描述了一种旨在精确控制车辆转向、制动、加速和传动功能的系统,即使在狭窄空间、斜坡或倾斜路面等需要精细操作的情况下也能实现。

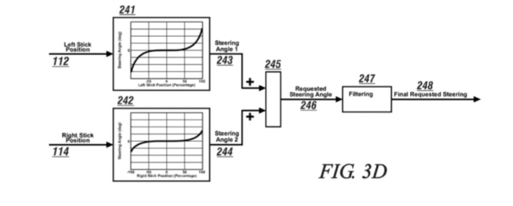
该系统的核心是一个手持式控制台,配备两个模拟摇杆、模拟扳机、选择开关和一个通信系统。来自控制器的输入由车载控制器处理,车载控制器将这些输入转换为车辆转向、制动、推进和传动系统的指令。该专利特别强调转向控制,使用两个协同工作的模拟摇杆来确定最终的转向角度。

通用汽车申请远程车辆控制专利

通用汽车专利中描述的系统持续监测来自控制器的输入,并使用这些校准图计算转向角度,然后将最终的转向指令发送到车辆的转向子系统。制动和加速也采用类似的逻辑,使用单独的校准图将模拟扳机映射到制动和油门请求。然后,这些请求被转换为车辆指令,并通过车辆上的制动和推进控制器执行。

通用汽车的专利还描述了一些可选功能,例如用于调节控制行为的选择开关、转向、制动和加速的默认“零”输入状态,以及允许操作员通过变速档位选择器使用前进或后退的双稳态按钮。此外,手持控制台可能包含显示屏,并且可以与虚拟现实头戴式设备配对使用。

通用汽车申请远程车辆控制专利

该系统凭借其灵活性和精确性,能够比传统遥控系统更精确地控制车辆,因此可能非常实用。这对于低速行驶、车辆定位、工业或农业车辆、危险环境下的远程操作,以及需要外部控制的高级驾驶辅助和自动化场景等应用尤为有利。

标签: