全球汽车零部件贸易政策与供应链调整趋势-金坦汽车资讯 欧盟碳边境税扩展和各国贸易协定正重塑全球汽车零部件格局,福特、奔驰等车企中止合作显示供应链动态调整。应对外部冲击,企业需关注关税政策、技术集成和本土保护,以适应愈加复杂的全球竞争环境。 滚动新闻 2026-02-27 02:00 浏览:609
长距离高防护图像传输技术解析与应用方案-金坦汽车资讯 新一代相机模组实现15米低延迟视频传输,搭载HDR与LED闪烁抑制技术,确保恶劣光照条件下的高清画质表现,IP67/IP69K防护等级满足户外严苛环境部署需求。 滚动新闻 2026-02-27 02:00 浏览:600
大陆集团任命新任CEO并推进康迪泰克部门出售-金坦汽车资讯 大陆集团宣布Christian Kötz将接任首席执行官,同时推进康迪泰克部门的出售。这一管理层交接和业务出售标志着公司瘦身计划的收官,战略重心将聚焦于核心轮胎业务,以提升运营灵活性。 滚动新闻 2026-02-27 02:00 浏览:515
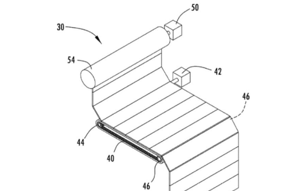
福特申请乘客显示系统专利 柔性屏可卷起收纳-金坦汽车资讯 福特汽车申请的新型乘客显示系统采用柔性设计,可像窗帘般卷起收纳,具备多种观看位置,既能作为后排遮阳帘,也可安装在后备箱提供观影体验,提升车内空间利用与娱乐功能。 滚动新闻 2026-02-27 02:00 浏览:929
智能汽车与家庭物联网融合开启全场景互联新时代-金坦汽车资讯 随着智能汽车与家庭物联网深度融合,通过标准化技术接口实现跨设备无缝联动,用户可在驾车途中远程控制家电,在家中管理车辆状态,真正打破车家边界构建智慧生活新体验。 滚动新闻 2026-02-27 02:00 浏览:593
微型机器人实现体内自主修复,内置计算机与传感器技术-金坦汽车资讯 研究人员开发出小于一毫米的自主微型机器人,结合内置计算机与传感器,能实现体内自主修复和环境监测,克服了传统依赖外部控制的限制。 滚动新闻 2026-02-27 02:00 浏览:688
汽车产业智能平台驱动具身智能核心能力开放与创新-金坦汽车资讯 "元生态"具身智能平台将汽车产业积累的资源转化为驱动AI发展的核心动能,通过算力支持、场景验证和生态孵化,加速技术落地。这一举措推动产业从硬件竞争迈向软硬协同,打造可持续创新生态。 滚动新闻 2026-02-26 02:17 浏览:531
自动驾驶域控制器加速发展 提升安全高效出行-金坦汽车资讯 最新自动驾驶域控制器采用高性能微处理器,实现高级驾驶辅助功能与能效提升,通过优化车载网络架构增强车辆数据处理能力,为智能交通系统提供更安全可靠的技术支持。 滚动新闻 2026-02-26 02:17 浏览:969
无人驾驶物流车规模化落地与融资进展深度解析-金坦汽车资讯 随着全球无人物流车市场快速增长,具备车规级量产能力的企业迎来关键发展期。通过平台化设计和批量交付部署,企业正从技术验证加速迈向规模化商业落地,在多场景应用中展现竞争优势。 滚动新闻 2026-02-26 02:17 浏览:744
全球芯片短缺影响本田日本中国工厂暂停生产-金坦汽车资讯 受全球芯片短缺影响,本田汽车将于近期暂停日本和中国的工厂生产,进一步凸显供应链紊乱问题。公司已下调2025年全球销量预期,并可能首次跌出日本车企全球销量前三甲,凸显芯片短缺对汽车制造业的持续冲击。 滚动新闻 2026-02-26 02:17 浏览:557