跳转到主要内容

通用汽车申请新型自适应减震器专利

日期: 栏目:滚动新闻 浏览:

本站讯 据外媒报道,通用汽车公司已提交一项自适应减震器设计的专利申请。该专利申请的专利号为US 2025/0361920 A1,于2024年5月22日提交至美国专利商标局(USPTO)。相关文件于2025年11月27日公布,并列出了多位印度工程师作为发明人,其中包括Vijaiya Ramakrishnan、Biju Thomas和Rama Potharaju。

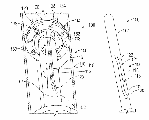
根据专利描述,通用汽车的这种自适应减震器系统能够根据悬架运动机械式调节阻尼特性,而不是仅仅依赖电子设备或外部控制系统。该设计的核心是一根导杆,其外表面形成有特殊形状的导向槽。该导向槽包括一个中心部分,两端各有一个或多个倾斜或螺旋状部分。这些凹槽形状有助于减震器适应不同的驾驶条件。

通用汽车申请新型自适应减震器专利

标签: